ГОСТ 24696-2023
Подшипники качения. Подшипники роликовые сферические двухрядные с симметричными роликами. Общие технические требования
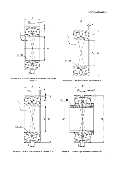
действующий Настоящий стандарт распространяется на роликовые сферические двухрядные подшипники с симметричными роликами (далее – подшипники), изготавливаемые по ГОСТ 520, и устанавливает их классификацию по конструктивным исполнениям и присоединительным размерам, указания по применению и эксплуатации, а также дополнительные технические требования к данной группе однородной продукции
Текст ГОСТ 24696-2023




































Другие ГОСТы
ГОСТ 520-2011 Подшипники качения. Общие технические условияГОСТ 3478-79 Подшипники качения. Основные размеры
ГОСТ 18572-2014 Подшипники качения. Подшипники буксовые роликовые цилиндрические железнодорожного подвижного состава. Технические условия
ГОСТ 4657-2022 Подшипники качения. Подшипники игольчатые однорядные с кольцами, обработанными резанием. Общие технические требования
ГОСТ 27365-2023 Подшипники качения. Подшипники конические однорядные. Классификация, указания по применению и эксплуатации
ГОСТ 24310-80 Подшипники качения. Подшипники радиальные роликовые игольчатые без колец. Технические условия
ГОСТ 5721-2022 Подшипники качения. Подшипники роликовые сферические двухрядные с асимметричными роликами. Общие технические требования
ГОСТ 7242-2021 Подшипники качения. Подшипники шариковые радиальные однорядные с защитными шайбами. Общие технические требования
ГОСТ 832-2022 Подшипники качения. Подшипники шариковые радиально-упорные сдвоенные. Общие технические требования
ГОСТ 831-2022 Подшипники качения. Подшипники шариковые радиально-упорные однорядные. Общие технические требования
ГОСТ 4252-2022 Подшипники качения. Подшипники шариковые радиально-упорные двухрядные. Классификация, указания по применению и эксплуатации
ГОСТ 8328-2022 Подшипники качения. Подшипники цилиндрические однорядные. Классификация, указания по применению и эксплуатации
ГОСТ 7634-2023 Подшипники качения. Подшипники цилиндрические двухрядные и многорядные. Общие технические требования
ГОСТ 5377-2024 Подшипники качения. Подшипники цилиндрические без внутреннего или наружного кольца. Классификация, указания по применению и эксплуатации
Дополнительная информация
Английское название | |
Введен в действие | 01.10.2023 |
Взамен | ГОСТ 24696-81 |
Дата издания | 11.07.2023 |