ГОСТ Р 71561-2024
Средства измерений на основе искусственного интеллекта. Состав, структура и области применения. Основные положения
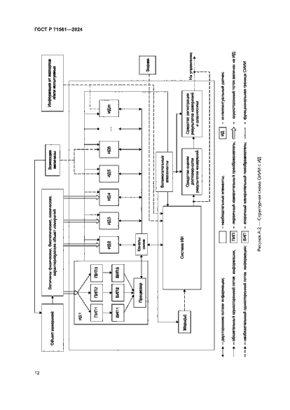
принят Настоящий стандарт распространяется на средства измерений (СИ) на основе искусственного интеллекта, разрабатываемые и применяемые на территории Российской Федерации, и устанавливает основные положения, относящиеся к ним
Текст ГОСТ Р 71561-2024




















Другие ГОСТы
ГОСТ 26.010-80 Средства измерений и автоматизации. Сигналы частотные электрические непрерывные входные и выходныеГОСТ 13762-86 Средства измерений и контроля линейных и угловых размеров. Маркировка, упаковка, транспортирование и хранение
ГОСТ 27451-87 Средства измерений ионизирующих излучений. Общие технические условия
ГОСТ 14337-78 Средства измерений ионизирующих излучений. Термины и определения
ГОСТ 20906-75 Средства измерений магнитных величин. Термины и определения
ГОСТ 25368-82 Средства измерений максимальной мощности импульсного лазерного излучения. Типы и основные параметры. Методы измерений
ГОСТ Р 71562-2024 Средства измерений на основе искусственного интеллекта. Метрологическое обеспечение. Общие требования
ГОСТ 25811-83 Средства измерений средней мощности лазерного излучения. Типы. Основные параметры. Методы измерений
ГОСТ 14686-69 Средства измерений световых величин. Термины
ГОСТ 15528-86 Средства измерений расхода, объема или массы протекающих жидкости и газа. Термины и определения
ГОСТ 24469-80 Средства измерений параметров лазерного излучения. Общие технические требования
ГОСТ 17209-89 Средства измерений объемной активности радионуклидов в жидкости. Общие технические требования и методы испытаний
ГОСТ 21496-89 Средства измерений объемной активности радионуклидов в газе. Общие технические требования и методы испытаний
ГОСТ 22251-89 Средства измерений объемной активности искусственного радиоактивного аэрозоля. Общие технические требования и методы испытаний
Дополнительная информация
Английское название | |
Введен в действие | 01.01.2025 |
Дата издания | 12.11.2024 |